? 光譜范圍覆蓋從190至1700 nm
? 輸入噪聲(NEP)低至至少6 fW/√Hz
? 帶寬高達500 kHz
? 最小上升時間700ns
? 光纖或自由空間輸入選項
? 所有光纖型號均提供校準服務
? 支持手動設置或通過數字接口進行控制
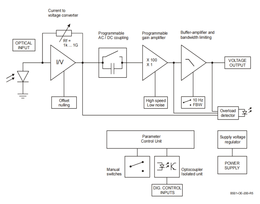
FEMTO的OE-200系列光電探測器結合了低噪聲跨阻放大器和Si PIN或InGaAs PIN光電二極管,覆蓋190nm至1700nm的光譜范圍,內置放大器增益可調,從103至1011V/W,實現100fw至2mw的光學輸入測量。OE-200具有高達500kHz的帶寬和700ns的快速信號上升時間,適合高速時間分辨測量。
產品特性:
? 可調節偏移:通過電位器和外部控制電壓進行調節。
? LED過載指示:設備具備LED指示燈顯示過載狀態。
? 輸出短路保護:輸出端具備短路保護功能。
? 供電要求:通過3極Lemo?插座接受±15V的供電電壓,隨設備提供合適的插頭,且可選配PS-15系列電源。
? 高靈敏度:結合低噪聲跨阻放大器和硅PIN或InGaAs PIN光電二極管,覆蓋從190nm至1700nm的光譜范圍。
? 寬動態范圍:集成放大器的增益可調節從103至1011V/W,測量范圍大約從100fW至2mW的光學輸入功率。
? 高噪聲等效功率(NEP):設計低至僅6 fW/√Hz。
? 多功能:包括可切換信號濾波器、可調節偏移校正,以及通過光電隔離接口與PC手動或遠程控制的能力。


? 通用實驗室光電接收器
? 自動對接有源組件的光纖耦合系統
? 快速測量光學信號的功率計
? 跨越10個數量級的線性度測量
? 光學通信系統的校準
? 時間分辨的脈沖和功率測量
? 工業控制和調節回路
